Photos of the new patent reveals new hardware for Microsoft
February 26, 2018
No Comments
Photos of the new patent reveals new hardware for Microsoft
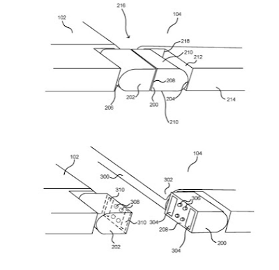
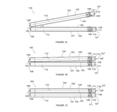
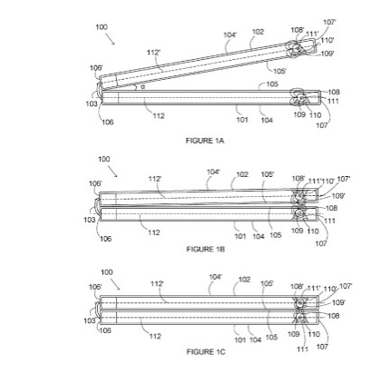
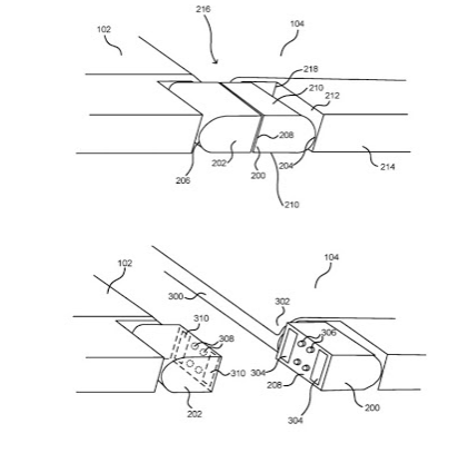
It seems that Microsoft is working on launchingSmart phones folding walk in the footsteps of other companies khoaoi, Samsung and others, which leaked images of the new patent on social networking sites and niche sites over the last few days.
